當前位置:
門鎖網>
門鎖新聞>
門鎖周邊>
詳情
手機版最新留言:
使用手機微信“掃一掃”功能,掃描以下二維碼,即可將本文分享到“朋友圈”中。
2024-06-23 編輯:中國門鎖網 來源:網絡 瀏覽數:6330
1月26日,全國產權行業信息化綜合服務平臺公布“超級智慧家(上海)物聯網科技有限公司0.7697%股權轉讓公告”,轉讓底價1096.8661萬元,轉讓方為紅星美...
1月26日,全國產權行業信息化綜合服務平臺公布“超級智慧家(上海)物聯網科技有限公司0.7697%股權轉讓公告”,轉讓底價1096.8661萬元,轉讓方為紅星美凱龍家居商場管理有限公司。披露公告期20個工作日,截止日期為2024年2月27日。當前,紅星美凱龍持有超級智慧家股份10.2502%。

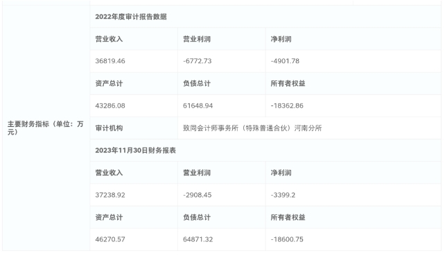
從該平臺公開的主要財務指標來看,UIOT超級智慧家2022年度審計后營收36819.46萬元,凈利潤-4901.78萬元,資產總計43286.08萬元,所有者權益-18362.86萬元。截止2023年11月,營收為37238.92萬元,凈利潤-3399.2萬元,資產總計46270.57萬元,所有者權益-18600.75萬元。

作為全屋智能家居行業的頭部品牌,UIOT超級智慧家頗受業界認同和資本的青睞,迄今為止,已獲得包括保利、紅星美凱龍、中金、羅格朗等產業資本的戰略投資。
想了解這個項目,請聯系我!
我想加盟,請將項目的資料發給我。
請問我所在地區有加盟商了嗎?
想了解此項目的加盟流程,請聯系我!
請問加盟此項目需投資多少錢?
版權與免責聲明:
凡未注明稿件來源的內容均為轉稿或由企業用戶注冊發布,本網轉載出于傳遞更多信息的目的,如轉稿涉及版權問題,請作者聯系我們處理。我們對頁面中展示內容的真實性、準確性和合法性均不承擔任何法律責任。
如內容信息對您產生影響,請及時聯系我們修改或刪除。
13520832007

今天已經有 354 人獲取加盟資料
2025北京木門展,中國木門網采訪洛克曼智能鎖何總
2024門鎖網專訪凱理五金王總
2024門鎖網專訪三彪名派智能鎖黃總
隨著人工智能技術和物聯網技術的完善和普及,智能家居已經進入到千家萬戶,在消費升級背景下,智能門鎖已然成為智能家居市場的一大風口。
為了探尋飛利浦智能鎖的起步歷程和未來規劃,我們特地專訪了飛利浦銷售總監劉志丹先生,希望能夠找到飛利浦成功的奧義所在,為行業的良性發展帶來一些啟示和靈感。
中居聯杯·2024年度門鎖及智能鎖十大品牌獲獎名單
2024門業及定制家居品牌峰會暨中居聯杯·2023年度木門及門墻柜整裝十大品牌表彰盛典圓滿落幕
飛利浦智能鎖采用半導體指紋傳感器,識別靈敏度高,不僅能透過皮膚表皮層去采集更精細的指紋細節,還具備指紋認證修復功能。
隨著人們安全意識的不斷提高,家庭安防正在成為智能家居產品中日益崛起的一部分,其中涉及到的產品包括家用攝像機、智能門鎖、智能貓眼、智能門鈴、門磁傳感器、紅外報警器等等。據相關數據統計,家庭安防類設備在2...
CEEASIA亞洲三大專業消費電子展之一、一年一度的消費電子全產業鏈大會 —— CEEASIA亞洲消費電子展(北京)將于2022年6月25日-27日在中國北京亦創國際會展中心舉行。10月25日,中新展...
讓加盟更誠信 讓選擇更放心
立即咨詢做有權威的品牌